1. Raw material screening system
Limestone from off-site must be sieved after entering the raw material yard. The screening process is as follows: the dump truck unloads limestone into the ground pit, and the vibrating feeder set under the ground pit is transported to the screening building through the belt feeder. Screening treatment, sieve material into the powder bin, regular transport; sieve material for qualified limestone, qualified limestone through the vibrating feeder into the belt machine, the final belt conveyor to the kiln before the silo, into the feeding system.
Raw material screening system: the raw material screening system consists of underground silo, vibrating feeder, belt, screening station, kiln front bin, weighing hopper, vibrating feeder, hoisting trolley, inclined bridge, hoist, kiln top distributor, material level detector and other related facilities.
The storage capacity of single kiln front hopper is 300 tons, which can meet the raw material requirement of 6 hours per kiln.
2. Shaft kiln feeder system
The qualified stone material is fed into the kiln top receiving hopper by feeding trolley, and the kiln top receiving material is fed by vibrating feeder. The stone material is transported to the accurate weighing hopper of the upper part of the two kiln hearth by reversible belt under the feeding machine, and the limestone is fed into the kiln hearth by the kiln top sealing gate.
1) Kiln top feeding hopper
The limestone delivered by the trolley is transported to the downstream equipment by the vibrating feeder under the hopper, and the vibrating feeder is set up: the capacity is 0~100 t/h..
2) Rotary hopper
The rotary hopper is installed on each kiln top of the double cylinder kiln, and the hopper is suspended by the hydraulic cylinder. The reversible belt machine rotates the hopper to prevent limestone segregation.
The rotary hopper has two actions, one is the rotation action around its own center line, driven by the motor, which is mechanical; the other is the upper and lower lifting action of the rotary hopper, driven by the hydraulic cylinder.
3) Kiln top seal gate
Key sealing device for kiln body, this sealing valve is hydraulic drive.
4) Material distributor
Installed in the upper part of the kiln hearth, it is an upper hollow platform structure, which can distribute the stone evenly in the section of the kiln hearth to prevent material segregation.
5) Level indicators
For hydraulic driving weight hammer level meter, on-line detection of limestone surface. The measured signal is transmitted to the control center to control the operation of the reciprocating ash extractor.
3. Shaft kiln body system
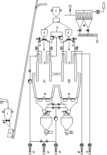
1) Structure diagram
See left.
2) Shaft kiln shell structure
The main functions of the STEEL shaft kiln shell are as follows: to ensure the stability and reliability of the lining masonry of the shaft kiln; to ensure the sealing of the kiln body; to bear all kinds of equipment on the kiln body; to ensure the normal operation of the combustion process;
The shaft kiln structure directly affects the quality, output and service life of lime. The kiln shell is welded with 12 mm steel plate. In order to ensure the strength reliability and sealing of the steel kiln shell, a circle of 1mm thick stirrups plate is added at the transverse weld seam, and 10 mm thick vertical bars are arranged on the outer surface of the steel plate, and the middle is wrapped with 12 mm steel plate. It is designed that the kiln body will not expand and crack and open welding when the kiln temperature rises and the gas generated by stone decomposition expands outward during the calcination process. For the convenience of construction and maintenance, a number of man holes and repair doors are set up at different heights.
3) Ladder platform
a) Kiln lower platform: Lime cooling air release valve, closed ash discharge valve;
B) 1st layer platform (concrete): Ash discharge platform (reciprocating ash unloading machine), observation door;
C) 2nd Layer Platform: Air cannon;
D) 3rd Layer platform: Connect channel, fire hole, start burner, optical pyrometer, temperature measuring point, pressure measuring point;
E) 4th Layer platform: Nitrogen ring tube;
F) 5th Layer platform: Natural gas spray gun, air gun cooling ring pipe;
G) 6th Layer floor platform: Kiln top sealing gate, level gauge, reversing gate, weighing hopper;
H) Kiln top frame platform 1: Material distributing belt machine;
I) Kiln top frame platform 2: Kiln top storage hopper, chimney and dust removal flue gas reversing gate;
4) Kiln liner
The function of kiln liner is to form kiln shape, maintain kiln temperature, protect kiln shell and other equipment from high temperature, and the refractory materials of masonry lining should have the ability to resist high temperature, high strength and chemical erosion, resist updraft scour, and heat insulation.

The internal masonry of kiln body is to build refractory materials of different materials according to the different, material and working temperature of each working zone. There are mainly magnesia brick, high aluminum brick, high strength clay brick, ceramic fiber, heat insulation board and tamping material, so as to meet the use requirements of various parts, and ensure the normal service life of all parts of the kiln body is more than 5 years. The inner lining layer of kiln is working layer, the material is heavy refractory brick; the outer layer is heat insulation layer, mainly uses light heat preservation material.
Double hearth kiln masonry technical requirements are low, overhaul period is long, the average is 5 years overhaul.
Process flow chart:

Process diagram description:
1. Weighing hopper; 2. Feeding trolley; 3. Weighing hopper on kiln; 4. Kiln top feeder;
6. Storage chute; 7 Kiln hearth closing gate; 8. Material level gauge; 9. Spray gun;
10. Ash machine; 11. Discharge gates; 12. Vibration feeder under kiln; 13. Air combustible fans;
14. Combustion support/lime cooling backup fans; 15. Lime cooling fans;
16. Spray gun cooling fan; 17. Gas surge stations; 18. Kiln body dedusting system;